Çubuk Kaplama Tuğlası
Pres Kaplama Tuğla Serisi| Ürün Kodu | : KK-5 |
| Tuğla Çeşitleri | : Kaplama Tuğla |
| Yüzey Dokusu | : Tel Kesme |
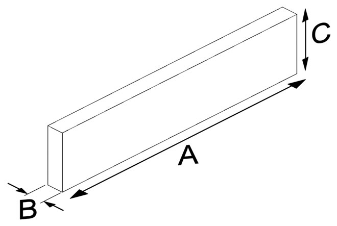
| Ebatlar (mm) | : A:240,B:15,C:50 |
| Adet / m² | : 66 |
| Ağırlık | : 0,31 kg |
| Su Emme Oranı | : Max.% 7 |
| Renk | : Ege Toprak,Ege Kahve,Ege Sarı |
Ürün Açıklaması
* Ürün ağırlıkları hammadde yoğunluğundaki değişimler nedeniyle farklılık gösterebilir.
* Uzunluk ölçüleri mm cinsinden olup standartlar dahilinde + – farklılık gösterebilir.
* Sarfiyat bilgileri derzli uygulamaya göre verilmiştir.


